Скачай приложение iTest
Готовься к школьным экзаменам в более удобном формате
Вариант 4
-
В таблице представлены экспериментальные данные зависимости пройденного пути от времени движущейся по прямой материальной точки.
Определите вид движения материальной точки.

-
Груз, подвешенный на вертикальной пружине, находится в равновесии. Как соотносятся модули силы тяжести mg, и силы упругости F, возникающей в пружине?
-
Температура идеального одноатомного газа, взятого в количестве 1 моль, равна 300 К. Определить внутреннюю энергию газа. ( \(R=8,31 \frac{Дж}{моль\cdotК}\) )
-
Автомобиль массой 1т движется по прямолинейному участку шоссе со скоростью 72 км/ч. Определите кинетическую энергию автомобиля.
-
Атом нейтрален тогда, когда число протонов:
-
Как изменится сила Ампера, если угол между проводником с током и линиями магнитной индукции уменьшится с 90° до 45°?
\((\text{cos}cos 45° =\text{sin}sin 45° =\frac{\sqrt2}{2})\)
-
Луч света падает на плоское зеркало под углом \(α= 24°\). Определите угол отражение.
-
На горизонтальную поверхность стола кладут прямоугольный брусок, масса которого составляет 20 кг. Размеры бруска: длина — 40 см, ширина — 10 см. Определите давление, которое оказывает брусок на поверхность стола. ( \(g=10 \frac{м}{с^2}\) )
-
На металлическую пластину падает свет с длиной волны 400 нм. Работа выхода электрона из металла составляет 2,5 эВ. Определите, какой максимальной кинетической энергией будут обладать фотоэлектроны, выбитые с поверхности пластины.
\((h=6,63\cdot10^{-34} Дж\cdotс,\, c=3\cdot10^8 м/с,\, 1эВ=1.6\cdot10^{-16} Дж) \)
-
На рисунке изображено магнитное поле проводника с током. Куда направлены силовые линии магнитного поля в точке А?

-
Во сколько раз период первой дифракционной решетки отличается от второй, если при освещении монохроматическим светом в одном и том же месте экрана в первом случае фиксируется спектр второго порядка, а во втором - спектр третьего порядка?
-
Маятник совершает гармонические колебания. В каких точках скорость маятника максимальна?

-
Неподвижный стержень длиной l0, начал двигаться с релятивистской скоростью, при этом его длина стала равной l. По какой из нижеприведенных формул можно определить скорость его движения? (с -скорость света).
-
В закрытом сосуде объемом 0,2 м³ находится газ под давлением 10 кПа. Определить установившееся давление при сообщение данному газу 18 кДж теплоты.
-
Сколько -частиц и сколько -частиц испускается при превращении 92238U в 82206Pb?
-
При подъеме картофеля из хранилища глубиной 3,6 м подъемным устройством с КПД 90 % совершена работа 40 кДж. Сколько мешков картофеля массой 40 кг каждый было поднято из хранилища? (g = 10 Нкг)
-
Шар, брошенный вертикально вверх, вернулся на землю через 4 с. На какую высоту он поднялся? (g=10 м/с²)
-
Ядро атома водорода влетело в однородное магнитное поле с индукцией В = 0,2 Тл под углом α = 90° к направлению линий индукции. Масса ядро атома водорода \(1,67\cdot10^{-27}\) кг, заряд \(1,6\cdot10^{-19}\) Кл. Определить радиус окружности траектории, если скорость частицы \(υ =10^5\) м/с.
-
Сколько атомов радиоактивного изотопа останется через промежуток времени, равный трем периодам полураспада, если первоначально было N атомов?
-
При прохождении тока на резисторе сопротивлением R =10 Ом за промежуток времени 1 мин выделяется количество теплоты Q =60 кДж. Определите силу тока I в резисторе.
-
В ядерной реакции: \(11H+13H=24He+\gamma\), энергия элементов, вступивших в реакцию, отличается от полной энергии гелия на 12,43 МэВ. Определить частоту излученного фотона. ( \(h=6,63\cdot10^{-34} Дж\cdotс,\,1эВ=1,6\cdot10^{-19} Дж\) )
-
При изменении тока в соленоиде на 1 А за 0,6 с в ней возникает ЭДС 0,2 мВ. Определить длину излучаемой радиоволны идеальным колебательным контуром, состоящим из этой катушки и конденсатора емкостью 0,12 нФ.
-
Определите давление газа, если при изобарном нагревании ему было сообщено 24 Дж теплоты и внутренняя энергия газа возросла на 10 Дж, а объем увеличился на V= 4 дм³.
-
Чему равно реактивное сопротивление \(X_L\) катушки с индуктивностью \(L=10^{-4}\) при частоте 50 Гц?
-
Камень, брошенный горизонтально, упал на Землю через 1 с на расстоянии 20 м по горизонтали от места бросания. Найти конечную скорости камня.
-
Установите соответствие между физическими законами и их формулами.
-
\(F=-kx\)
-
\(\vec{F}=m\vec{a}\)
-
Установите соответствие между зависимостью координаты тела от времени и зависимостью проекции скорости этого тела от времени.
-
\(x=2t+t^2\) (м)
-
\(x=3t^2\) (м)
-
В закрытом сосуде находится идеальный газ. Как изменится его давление и плотность, если средняя квадратичная скорость его молекул увеличилась в 2 раза. Для каждой величины определите соответствующий характер ее изменения:
-
давление
-
плотность
-
Зависимость смещения колеблющегося тела от времени описывается уравнением: \(x=0,05 cosπt\) (м). Определить период и амплитуду колебания. Установите соответствие между величинами и их значениями.
-
период (м)
-
амплитуда (с)
-
Найти напряженность и потенциал электрического поля в точке, лежащей посередине между точечными зарядами \(q_1 = 9\) нКл \(q_2 = −9\) нКл. Расстояние между зарядами 2 м. Установите соответствие между величинами и их значениями \((k=9\cdot10^9 \frac{Н\cdotм^2}{Кл^2})\)
-
напряженность (В/м)
-
потенциал (В)
-
Заряд 10 нКл перемещается на 4 мм в однородном электростатическом поле напряженностью 25 кВ/м, при этом полем совершается работа 1 мкДж. Какой угол образует перемещение с направлением силовой линии?
-
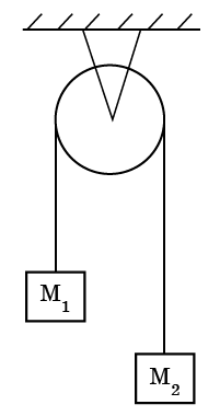
С каким ускорением двигается система тел, изображенных на рисунке, если масса первого тела в четыре раза меньше второго?

-
Вода массой 2 кг нагревается с помощью электронагревателя сопротивлением 50 Ом от температуры 25℃ до 100℃ за время 20 мин. Определите КПД нагревателя, если напряжение в сети 220 В.
(c=4200Дж/кг℃) -
Изображение предмета, находящегося на расстоянии 15 см перед тонкой линзой, расположено на экране на расстоянии 30 см за линзой. Определите ее фокусное расстояние.
-
Вычислите начальную температуру газа, если при его изохорном нагревании на 30 К давление увеличилось на 5%